Wie lässt sich die Transportsicherung der Waschmaschine entfernen?
Ausgabe
- Wie entferne ich die Transportsicherung der Waschmaschine?
- Die Transportsicherung lässt sich nicht vollständig entfernen
- Eine Schraube lässt sich nicht lösen
- Wie kann man die Waschmaschine wegen eines Umzugs transportieren?
Gilt für
- Waschmaschinen Frontlader
Lösung
- Hinweise, wie die Transportsicherung Ihrer Waschmaschine entfernt wird, finden Sie in der Montageanweisung. Diese liegt dem Neugerät bei.
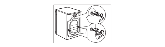
- Die Waschmaschinen-Transportsicherung besteht aus drei langen Schrauben, welche sich an der Geräterückwand befinden.
Bild 1: Schrauben der Transportsicherung
- Die drei Schrauben müssen komplett entfernt werden! Nehmen Sie eventuell eine Zange zu Hilfe!
Bild 2: Position der Transportsicherung Frontlader
- Betreiben Sie das Gerät nicht mit der Transportsicherung, da es sonst Schaden nehmen könnte!
- Befestigen Sie die drei dem Gerät beiliegenden Gummiabdeckungen / Kunststoffkappen anschließend in den vorhandenen Löchern.
- Sollte sich eine oder mehrere Schrauben nicht entfernen lassen, wenden Sie sich zur Störungsbehebung an unseren Kundendienst
- telefonisch 01/866 40-330 Mo-Do 7.30- 16:15 Uhr, Fr 7:30-13:30 Uhr
- per E-Mail retour.kundendienst@electrolux.co.at
- Wenn Sie wegen eines Umzugs Ihre vorhandene Waschmaschine transportieren möchten, müssen die Transportschrauben wieder eingesetzt werden. Falls die Schrauben nicht mehr vorhanden sind, erhalten Sie diese über unseren Webshop
- Beispiel für Montageanweisung: Frontlader_Installationsanweisung.pdf
War dieser Artikel hilfreich?
Verwandte Artikel
- Gummidichtung der Waschmaschine reinigen, wenn sie verschmutzt ist
- Der Weichspüler wird nicht vollständig eingezogen
- Waschmaschine funktioniert nicht / reagiert nicht
- Die Waschmaschine ist beim Schleudern laut
- Die Waschmaschine füllt im ausgeschalteten Zustand Wasser ein
- Die Waschmaschine zeigt die Fehlercodes E20, C2 an oder piept/blinkt 2 Mal hintereinander
- Notentriegelung Frontlader
- Wie stelle ich "nur Schleudern" an der Waschmaschine ein?
- Der Waschautomat zeigt EFo an
- Die Waschmaschine zeigt ein Vorhängeschloss-Symbol an