AquaControl-Schlauch sieht wie ein gewöhnlicher Zulaufschlauch aus

Ausgabe

  • Der Aqua-Control-Schlauch ist nicht vorhanden, obwohl es in der Produktbeschreibung und in der Gebrauchsanweisung steht.
  • Der Aqua-Control-Schlauch sieht wie ein gewöhnlicher Zulaufschlauch aus.

Gilt für

  • Waschmaschinen
  • Waschtrockner

Lösung

Folgende Aqua-Control-Varianten bieten wir in unseren Geräten an:

Bezeichnung
Beschreibung
Funktion und Ausstattung

Aqua Control Zulaufschlauch

  • doppelwandiger Zulaufschlauch mit Elektroventil am Wasserhahn.
    Sollte der innere Schlauch ein Leck haben, läuft das Wasser in die Bodenwanne.

  • in das Gerät integrierter Auslauf- und Überlaufschutz
    Gelangt Wasser in die Bodenwanne des Geräts, schaltet sich die ablaufpumpe ein. Diese transportiert das Wasser aus der Waschmaschine - auch bei ausgeschaltetem Gerät - nach außen

  • akustisches Signal, wenn Pumpe ausgelöst wurde

Dieser Schlauch kann nur über Kundendienst getauscht werden!

Aqua Alarm

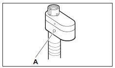
  • doppelwandiger Zulaufschlauch mit Quellventil

    Sollte der innere Schlauch ein Leck haben, wird das Sichtfenster A rot und die Wasserzufuhr wird abgesperrt.
     

  • in das Gerät integrierter Aus- und Überlaufschutz

    Gelangt Wasser in die Bodenwanne des Geräts, fördert eine Pumpe dieses - auch bei ausgeschaltetem Gerät - nach außen
     

  • akustisches Signal, wenn Pumpe ausgelöst wurde

Aqua-Control-Schlauch

  • doppelwandiger Zulaufschlauch mit Quellventil

    Sollte der innere Schlauch ein Leck haben, wird das Sichtfenster A rot und die Wasserzufuhr wird abgesperrt.

Aqua-Control-Schlauch

  • doppelwandiger Zulaufschlauch ohne Quellventil

    Sollte der innere Schlauch ein Leck haben, übernimmt der äußere Schlauch seine Funktion.

3fach Sicherheitsschlauch

  • Schlauch aus 3 übereinandergelegten Schichten (PVC) inkl. eines Gewebes
  • Die Enden an den Gewinden sind speziell verschlossen, so dass ein Wasseraustritt unmöglich ist und auch der Schlauch selbst ist 100% platzsicher

Erklärung:

  1. Rein äußerlich ist der Aqua-Control-Schlauch ohne Sichtfenster nicht vom herkömmlichen Schlauch zu unterscheiden.
    Ist das Gerät gemäß Produktbeschreibung mit einem Aqua-Control-Schlauch ausgestattet, ist dieser auch verbaut.
  2. Die Bezeichnung Aqua-Control-Schlauch bezieht sich auf die Funktion, nicht aber auf das Aussehen des Schlauchs!
  3. Der Rundum-Wasserschutz bzw. Vollwasserschutz bleibt erhalten!

War dieser Artikel hilfreich?

Ersatzteile & Zubehör

Bestellen Sie Originalersatzteile und Zubehör für Ihr Zanussi-Produkt und lassen Sie sie schnell und günstig per Post liefern.

Zum Webshop
AquaControl-Schlauch sieht wie ein gewöhnlicher Zulaufschlauch aus | Zanussi